Данное устройство является простейшим индикатором наличия подслушивающих
устройств. Оно устанавливается на предварительно проверенной телефонной
линии. Питание осуществляется от телефонной линии. При наличии любых
несанкционированных подключений различных устройств, питающихся от
телефонной линии, выдается сигнал тревоги (включается красный светодиод).
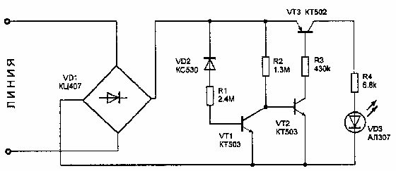
Устройство состоит из анализатора линии, собранного на стабилитроне VD2 типа КС530 и транзисторе VT1 типа КТ503, и усилителя
тока, собранного на транзисторах VT2 и VT3 типа КТ503 и КТ502, соответственно.
К выходу усилителя через ограничительный резистор R4 подключен светодиод
VD3 типа АЛ307. Выпрямительный мост VD1 типа КЦ407 обеспечивает требуемую
полярность питания устройства независимо от подключения его к телефонной сети.

Рис.1 Световой анализатор телефонной линии
При свободной линии постоянное напряжение на ней
около 60 В. Стабилитрон VD2 "пробивается" (открывается),
и в базу транзистора VT1 подается через ограничительный резистор R1
управляющий ток. Открытый и насыщенный транзистор VT1 шунтирует вход
каскада на транзисторе VT2, поэтому усилитель тока закрыти светодиод VD3 погашен.
При подключении в линию посторонних устройств напряжение в линии падает и ток, протекающий через стабилитрон VD2, уменьшается
(вплоть до закрытия последнего). Транзистор VT1 закрывается, а в базу транзистора VT2 через резистор R2 подается управляющий ток. Усилитель
открывается и светодиод VD3 включается.
Андрианов В.И., Бородин В.А., Соколов А.В. "Шпионские штучки и устройства для защиты объектов и информации", 1996 г.,
стр.125