Устройство реагирует на приближение руки к металлическому
предмету, например замку, сейфу, или же на касание охраняемого предмета. Датчиком
может служить и любая электропроводная пластина с размерами примерно 200х200
мм. Чувствительность датчика зависит от настройки и может составлять до 20 см.
Отличительной особенностью приведенных схем емкостных
датчиков является их малое потребление (работа в режиме микротоков), что позволяет
применять автономное питание.
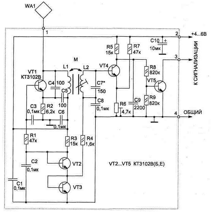
В основе работы схемы (рис. 3.34) используется принцип
изменяемой емкости. При поднесении руки к датчику WA1 в колебательный контур
автогенератора на транзисторе VT1 вносится емкость, и его частота меняется.
Начальная частота автогенератора около 280 кГц. Схема настраивается так, чтобы
второй колебательный контур (L2, С7) был в резонансе с частотой автогенератора.
На транзисторе VT4 собран активный детектор ВЧ сигнала.
При достаточной амплитуде напряжения в контуре (L2, С7) VT4 будет находиться
в насыщении (при этом VT5 заперт).

Рис. 3.34
Цепь из резисторов R6, R7 обеспечивает устойчивую
работу схемы при изменении питающего напряжения от 3,5 до 10В. Резистором R6
можно установить нужную чувствительность датчика.
Транзисторы VT2 и VT3 используются как диоды для
стабилизации режимов работы транзисторов VT1 и VT4 при изменении питающего напрядения.
По сравнению с диодами переход транзистора обеспечивает лучшую стабилизацию
напряжения при малых рабочих токах.
Для удобства настройки схемы к коллектору VT5 можно
подключить светодиод с ограничительным резистором (величина резистора зависит
от напряжения питания и может быть от 200 до 1000 Ом).

Рис.
3.35

Рис.
3.36. Топология печатной платы
Грубая настройка схемы производится конденсатором
С7, плавная — сердечником катушки L2, а также резистором R6. Окончательная настройка
устройства проводится с реальным датчиком WA1, с которым схема будет в дальнейшем
работать. При этом если охраняемый предмет имеет большую металлическую поверхность,
то может потребоваться установка разделительного конденсатора небольшой емкости
(5...100 пФ) между WA1 и контактом 1 схемы.
Катушки L1, L2 намотаны на ферритовом стержне типа
600НН (или 400НН) диаметром 10 мм и длиной
55 мм (см. рис. 3.35). Такие ферриты используются в качестве антенны в приемниках
на СВ и ДВ диапазонах. Катушка L1 содержит 350 витков, L2 — 250 витков провода
ПЭЛШО диаметром 0,08...0,12 мм, которые распределены равномерно по бумажному
каркасу на ферритовом стержне. Сердечник L2 должен перемещаться относительно
каркаса.
Постоянные резисторы применены типа С2-23, подстроечный
R6 — СПЗ-19а, конденсатор С10 типа К53-1, остальные конденсаторы типа К10-17.
На рис. 3.36 и 3.37 приведена конструкция печатной
платы и расположение на ней элементов.
Схема датчика размещается в любом пластмассовом
корпусе и крепится вблизи отдатчика WA1 (100...200 мм).
Устройство может работать совместно с другими схемами
охраны в качестве датчика или как самостоятельное
охранное устройство при наличии звукового индикатора (рис. 3.38).
Параметры катушек L1, L2 такие же, как в схеме,
приведенной на рис. 3.34, катушка L3 намотана на двух склеенных вместе ферритовых
кольцах (600...2000НН) типоразмера КЮхбхЗ и содержит 250 витков того же провода
(индуктивность ее около 120 мГн).

Рис.
3.37. Расположение элементов
Принцип работы звукового генератора на транзисторах
VT6 и VT7 аналогичен с приведенной схемой на рис. 4.12. В качестве источника
звука HF1 подойдет любой пьезоизлучатель, но топология печатной платы (рис.
3.39) дана для установки ЗГИ 8.
На плате резисторы R1 и R2 раполагаются над конденсаторами,
что увеличивает плотность монтажа, а конденсатор С10 применен типа К50-16 на
16 В.
При питании схемы от источника с напряжением 6 В
ток потребления в режиме ОХРАНА не превышает 1 мА, а при звуковом сигнале —
3 мА.

Рис. 3.38

Рис. 3.39